●店舗閉店後の防犯に、ネット取付用金具
複数箇所で使用した場合、南京錠の施開錠を1つのキーでできる同一キーでご利用頂けます。
オフィスや工場などで南京錠分の鍵を持つ必要性がありません。
壁面に取り付けたパッドアイとネットを繋ぎます。
パッドアイと同数量必要です。
鍵掛け不要であれば、南京錠に代わりカラビナを使用する場合もございます。
図面やパーツの希望個数をお伺いしての御見積を行っております。
売場の天井高やネットの高さにあわせてお選びいただけます。
御見積やネットのカットサンプルは無料です。
まずはお気軽にお問い合せ下さい。

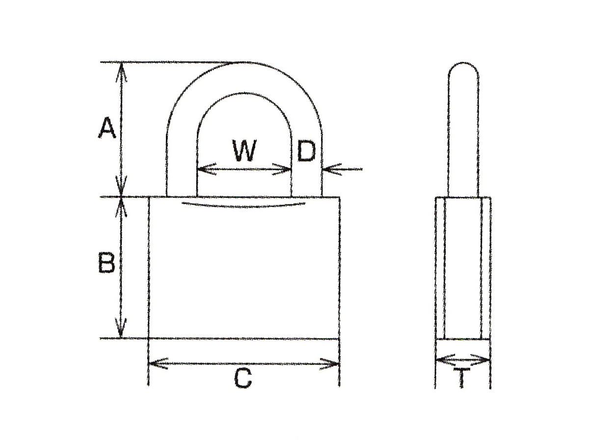
| 品番 | A(mm) | B(mm) | C(mm) | D(mm) | W(mm) | T(mm) | 質量 |
| No.2500 | 20 | 26 | 29 | 4.7 | 14.5 | 12 | 62g |

関連商品
■取付イメージ■

・各アイテムへのリンク
■店舗用防犯ネット専門ページ





